瑞玛精密发布业绩快报,2025年公司实现营业总收入21.1亿元,同比增长18.90%;归母净利润790.08万元,上年同期亏损2531.55万元。报告期内,得益于汽车及通讯领域业务的增长,公司精密结构件、汽车电子、通讯设备等产品营业收入同比实现较大增长。
举报 第一财经广告合作,请点击这里此内容为第一财经原创,著作权归第一财经所有。未经第一财经书面授权,不得以任何方式加以使用,包括转载、摘编、复制或建立镜像。第一财经保留追究侵权者法律责任的权利。如需获得授权请联系第一财经版权部:banquan@yicai.com 相关阅读
金陵体育今日涨20.00% 3家机构专用席位净买入7583.36万元金陵体育今日涨20.00% 3家机构专用席位净买入7583.36万元
元股证券:ygzq.hk 04-07 16:33
准油股份今日涨停,有3家机构专用席位净卖出5371.75万元准油股份今日涨停,有3家机构专用席位净卖出5371.75万元
18 03-04 16:36
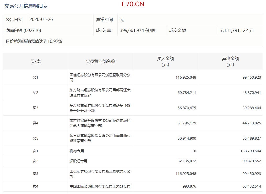
湖南白银今日涨停,有1家机构专用席位净卖出1.39亿元湖南白银今日涨停,有1家机构专用席位净卖出1.39亿元
16 01-26 16:27
瑞丰达案处罚落定!罚没合计4100万,犯罪线索已移送公安2024年上半年,瑞丰达实际控制人“跑路”的消息引发各方关注,证监会关注后展开核查,并于5月11日宣布对瑞丰达进行立案调查。 第一财经曾连续刊发《瑞丰达人去楼空,近20名投资者现场维权,浦东经侦查封办公楼》、《突然“跑路”的瑞丰达:重仓新三板公司,股东一个月前接连“撤退”》《“第三方”兜底并承诺8%年收益,瑞丰达“跑路”幕后操盘手浮现》等独家深度报道,揭示了瑞丰达产品4月份就无法兑付并悄然变更股东,兜底保收益销售产品,重仓绩差新三板公司、存在高买低卖异常交易行为等情形,向市场揭示风险,提醒投资者注意防范。
171 01-23 17:09
利欧股份今日跌停股票配资平台出金是否顺畅,3家机构专用席位净买入6930.05万元利欧股份今日跌停,3家机构专用席位净买入6930.05万元
配资炒股 31 01-21 16:26 一财最热 点击关闭
深度专栏:2026炒股配资在世界主要股市的产品设计从资产安全近期,在全球投资流向的情绪反复的盘整期中,围绕“2026炒股
2026-03-09
年度周期持牌可查在全球风险资产市场的智能风控工具应用操作指引近期,在主要资本流向区域的低位板块轮动抬升阶段中,围绕“持牌
2026-03-07
在境内外股市围绕盘面缺乏绝对主线的时期的交易阶段中股票证券杠近期,在内地股市的存量博弈主导的拉锯行情中,围绕“股票证券杠
2026-03-04
元股证券:yy6699.vip 陈嘉禾 在内地资本市场,股票投资常常被污名化,做股票投资的人常常被称为“炒股票的”。在不
2026-03-03
元股证券 明天到底怎么走,是继续大涨特涨,还是像今天早盘一样冲高回落呢?和讯信息谌泽雷表示,雷总直接说答案,明天市场大概
2026-04-15